https://www.ferra.ru/news/games/playsta ... 0-2021.htm
За последние год-полтора Sony совершает достаточно спорные поступки.
Сначала компания начала портировать свои главные проекты с PlayStation на компьютеры (Horizon Zero Dawn, Uncharted, God of War). Затем она не смогла обеспечить достаточное количество PlayStation 5, из-за чего новая консоль IT-гиганта стала натуральным дефицитом.
Теперь же появилась информация о свежем патенте японской компании, который был зарегистрирован ещё в январе 2020-го.
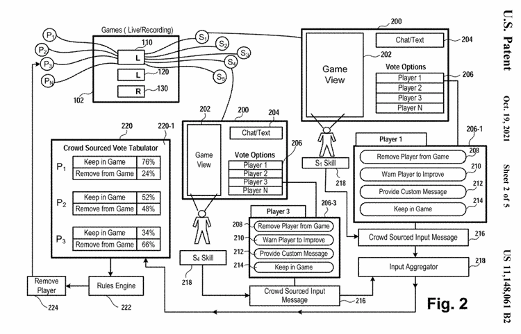
Его суть заключается в введении новой системы голосования внутри игр. В рамках неё зрителям будет дана возможность убрать игрока из матча, отправлять ему сообщения и, что самое важное, забанить его.
При этом отдельно стоит отметить, что голосование за бан будет производиться при помощи денег. Sony даже сможет устраивать виртуальный аукцион, на котором зрители смогут ставить не только виртуальные, но и вполне реальные деньги.
Снизу единственный адекватный комментарий там
Один вопрос? А, Nvidia смогла обеспечить новыми видеокартами свой покупателей? Да и Nvidia сами явно куда-то не туда свернули то выпускают видеокарту для майнеров. Когда сами знают что эта не их основные покупатели и пользователи. Да и сейчас всемирный кризис. Так , что от балды написана статья. И ещё Sony как любая компания хочет заработать деньги. Вот сливают старые эксклюзивый. Да и эти эксклюзивы давно уже первой свежести.
По сути сейчас нет ни одного супер-пупер платформодержателя и ни одной платформы- дефицит, читеры, майнеры, оверпрайс за железо, игры...Сони стала такая сука как и Майкрософт, только без гейпасса.
MadFanboy теперь доступен из России: https://ru.madfanboy.com/forum/ или https://ru.madfanboy.com
PlayStation-игроков будут банить за деньги Японцы явно свернули куда-то не туда
-
- Кто здесь?
-
нет зарегистрированных пользователей и 2 ноунейма
не пожалею и тысячи чтоб забанить алекоржаDionis писал(а): 23 окт 2021, 09:39При этом отдельно стоит отметить, что голосование за бан будет производиться при помощи денег
высокочастотная кадровая маслогенерация:Alex Maslorez писал(а): 11 мар 2025, 15:10скачай 30/24фпс видео и в плеере начни повышать скорость видео выше 1.0 - на 1.2 при этом будет эффект 60фпс практически по сути
Вообще прецедент спорный конечно, прикинь, куча рукожопов обидится и забанит хорошего игрока не читера

PS4/PS4 Pro gamer
Series X gamer
Series X gamer
прям чую как половина МФБ объединяется против одного АлекВрагаDionis писал(а): 23 окт 2021, 10:08прикинь, куча рукожопов обидится и забанит хорошего игрока не читера

высокочастотная кадровая маслогенерация:Alex Maslorez писал(а): 11 мар 2025, 15:10скачай 30/24фпс видео и в плеере начни повышать скорость видео выше 1.0 - на 1.2 при этом будет эффект 60фпс практически по сути



